Jak zrychlit nabíjení elektromobilů? Rivian si patentoval „zvláštní“ řešení
- Na době potřebné k nabití elektromobilu záleží
- Nejvíce záleží na udržení správné teploty, aby výkon neklesal
- Rivian přichází s patentem, který na to jde poněkud zvláštním způsobem

Výrobci elektrických aut jsou stále na pomyslém začátku technologické revoluce, která se má teprve odehrát. Když se podíváme na to, jak rychle se nabíjely elektromobily před 10 lety a jak se doba potřebná pro nabití těchto aut zkracuje, je to skoro až neuvěřitelné. A v budoucnu má stačit jen pár minut, tedy taková je zatím jen teorie, ke které ještě bude potřeba něco udělat i v praxi.
Rychlost nabíjení elektromobilů závisí na teplotě
Americký výrobce Rivian si zřejmě uvědomuje, že výkony nabíječek nadále porostou a spolu s tím bude potřeba lépe řídit termoregulaci nabíjecích stanic, ale i samotných elektromobilů. Patentoval si tak možná poněkud „zvláštní“ řešení, které by mohlo přispět k řešení budoucích problémů.
Rychlost nabíjení závisí především na správné teplotě baterie v autě, proto jsou trakční akumulátory v elektromobilech vybaveny pokročilým termomanagementem pro ideální zahřátí/zchlazení baterie před zahájením nabíjení, ale také samotné nabíjecí stanice mají systém pro naopak ochlazování kabelů (vzduchem, vodou).
Čtěte také: OTA aktualizace u Rivianu odemyká vyšší kapacitu baterie a tím prodlužuje dojezd
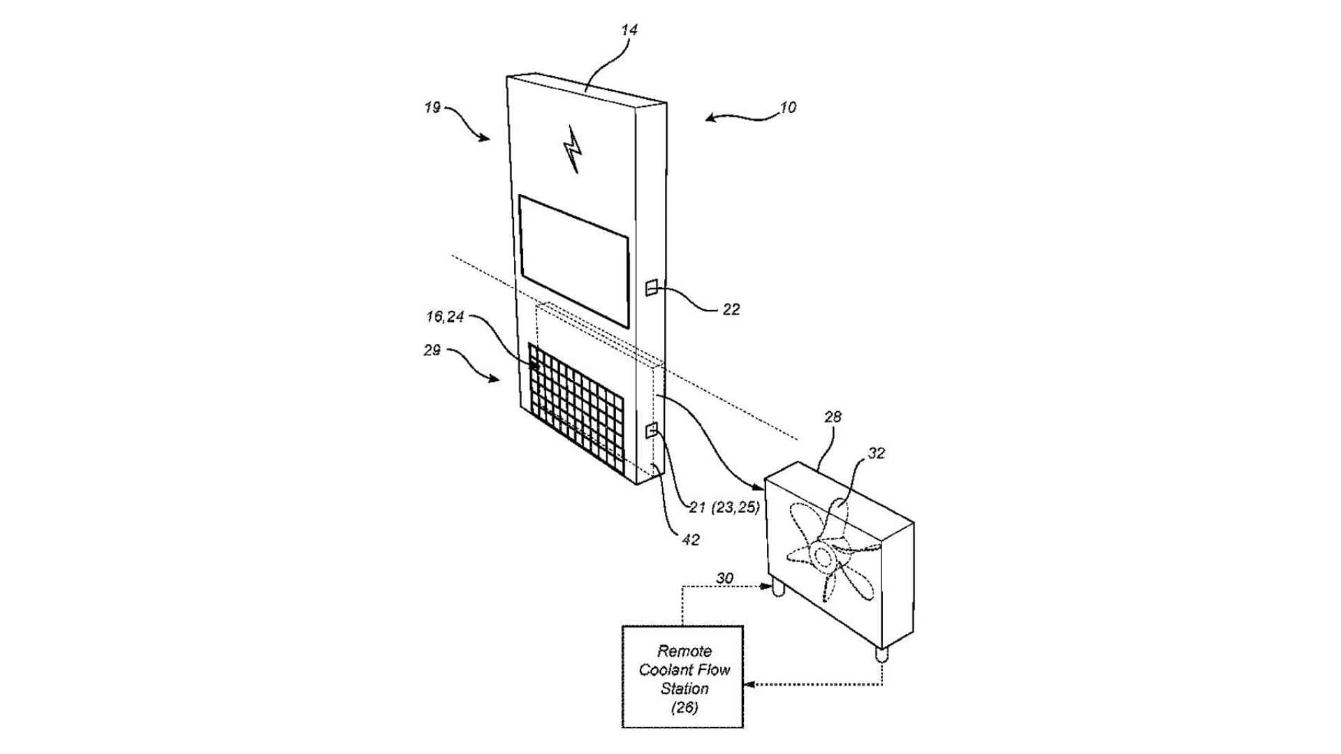
Jak má patent funguje?
Rivian ve svém novém patentu popisuje, že „s rychlým pokrokem technologií rychlého nabíjení pro vozidla se požadavky na chlazení baterií během nabíjení dramaticky zvýšily“, a tak vymyslel něco dalšího. Konkrétně větrák, který bude foukat studený či teplý vzduch z nabíjecí stanice přímo pod vůz, aby se tím pomohla udržet správná teplota baterie.
Vlastně jde o stejný způsob, který se používá již nyní, ale přímo v autě, či u nabíječky. Tím zásadním rozdílem však je, že takovéto navrhované řešení od Rivianu bude mít podstatně větší tepelné ztráty, takže bude dost neefektivní a energeticky náročné. Je tedy otázkou, zdali vůbec někdy najde cestu ke komerčnímu nasazení, nebo jen zůstane na papíře.
Autor článku

Luboš píše o technologiích s důrazem na užitečnost pro čtenáře. Od roku 2007 publikoval přes 8 000 článků, začínal jako zakladatel magazínu Mobilizujeme.cz. V osobním životě sází na produkty od Applu a Tesly.
Luboš píše o technologiích s důrazem na užitečnost pro čtenáře. Od roku 2007 publikoval přes 8 000 článků, začínal jako zakladatel magazínu Mobilizujeme.cz. V osobním životě sází na produkty od Applu a Tesly.












